Product Summary
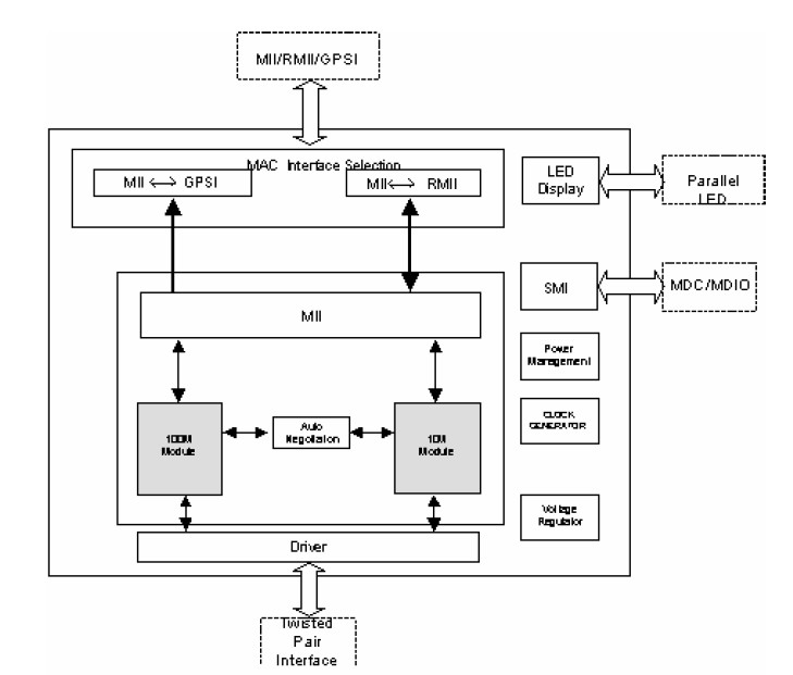
The ADM7001 is a single chip one port 10/100M PHY, which is designed for todays low cost and low power dual speed application. The ADM7001 supports auto sensing 10/100 Mbps ports with on-chip clock recovery and base line wander correction including integrated MLT-3 functionality for 100 Mbps operation, and also supports Manchester Code Converter with on chip clock recovery circuitry for 10 Mbps functionality. Meanwhile, the ADM7001 provides Medium Independent Interface (MII), Reduced Medium Independent Interface (RMII) and General Purpose Serial Interface (GPSI), three different interfaces in different applications. For todays IA (Information Application), ADM7001 supports "Auto Cross Over Detection" function to eliminate the technical barrier between networking and end user. With the aid of this auto cross over detection function, Plug-n-Play feature can be easily applied to IA relative products.
Parametrics
ADM7001 absolute maximum rating: (1)3.3 V Power Supply VCC33: 3.0 to 3.6 V; (2)2.5 V Power Supply VCC25: 2.25 to 2.75 V; (3)Input Voltage VIN: -0.3 to VCC33 + 0.3V; (4)Output Voltage VOUT: -0.25 to VCC25 + 0.25V; (5)Storage Temperature TSTG: -55 to 155℃; (6)Power Consumption PC: 0.5W; (7)ESD Rating VESD: 2000V.
Features
ADM7001 features: (1)IEEE 802.3 compatible 10Base-T and 100Base-T physical layer interface and ANSI X3.263 TP-PMD compatible transceiver; (2)Single chip, integrated physical layer and transceivers for 10Base-T and 100BASE-TX function; (3)Medium Independent Interface (MII), Reduced MII (RMII) and General Purpose Serial Interface (GPSI) for high port count switch; (4)Built-in 10 Mbit transmit filter; (5)10 Mbit PLL, exceeding tolerances for both preamble and data jitter; (6)100 Mbit PLL, combined with the digital adaptive equalizer and performance up to 120 meters for UTP 5; (7)125 MHz Clock Generator and Timing Recovery; (8)Integrated Base Line Wander Correction; (9)Carrier Integrity Monitor function supported.
Diagrams

| Image | Part No | Mfg | Description | ![]() |
Pricing (USD) |
Quantity | ||||
|---|---|---|---|---|---|---|---|---|---|---|
![]() |
![]() ADM7001 |
![]() Other |
![]() |
![]() Data Sheet |
![]() Negotiable |
|
||||
![]() |
![]() ADM7001ACT1 |
![]() |
![]() IC SWITCH CTRLR 10/100 40LQFP |
![]() Data Sheet |
![]() Negotiable |
|
||||
![]() |
![]() ADM7001X-AC-R-1 |
![]() Infineon Technologies |
![]() Switching Converters, Regulators & Controllers SWITCH / PHY |
![]() Data Sheet |
![]() Negotiable |
|
||||
![]() |
![]() ADM7001X-AC-T-1 |
![]() Infineon Technologies |
![]() Switching Converters, Regulators & Controllers SWITCH / PHY |
![]() Data Sheet |
![]() Negotiable |
|
||||
(Hong Kong)









